Le dernier brevet d’AMD, axé sur la DRAM, permet de doubler la bande passante mémoire sans faire évoluer le silicium DRAM, mais en modifiant la logique sur module.
Doublement de la bande passante mémoire par AMD
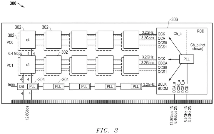
Les améliorations hardware sont souvent limitées par la nécessité d’upgrader des architectures ou de revoir l’utilisation des semi-conducteurs. Grâce à son nouveau brevet, AMD parvient à doubler la bande passante de la mémoire DDR5 via une technique simple, appelée « high-bandwidth DIMM » (HB-DIMM). Plutôt que de se concentrer uniquement sur des mises à jour de processus DRAM, ce brevet intègre des puces RCD (register/clock driver) et des buffers de données pour améliorer la bande passante, marquant ainsi un changement centré sur le DIMM.

En examinant les détails techniques, ce brevet révèle que la technique HB-DIMM améliore la bande passante mémoire en utilisant un simple re-templage et multiplexage. La bande passante passe de 6,4 Gb/s par broche à 12,8 Gb/s, doublant ainsi la sortie. Grâce à l’utilisation du RCD, AMD combine efficacement deux flux DRAM de vitesse normale en un seul flux plus rapide vers le processeur.
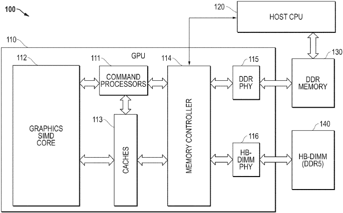
Cette application vise principalement les AI et autres charges de travail exigeantes en bande passante, mais il existe également une implémentation intéressante pour les APUs et iGPUs. En utilisant deux types de « plugs » mémoire : un PHY DDR5 standard et un PHY HB-DIMM additionnel.

Pour les APU, cette méthode serait bénéfique pour l’IA embarquée, favorisant une réponse rapide lors du traitement de grandes quantités de données. Alors que l’IA de périphérie devient cruciale, cette approche pourrait largement avantager AMD. Toutefois, un inconvénient pourrait être l’augmentation des besoins en énergie pour soutenir cette bande passante optimale.
En tant que leader dans le domaine de la mémoire, AMD a conçu HBM en collaboration avec SK Hynix, ce qui témoigne de son expertise. L’approche HB-DIMM s’avère prometteuse, car elle double efficacement la bande passante sans dépendre de l’évolution du silicium DRAM.



