Intel semble envisager de nouvelles avenues avec l’architecture GPU désagrégée, suite au dépôt d’un brevet permettant l’utilisation de logiciels spécialisés sous forme de « chiplets ». Cette approche marque un changement significatif vers un design plus modulaire et personnalisé des unités de traitement graphique.
Une Révolution dans le Design des GPU
Pour les passionnés de technologie, l’abandon des designs monolithiques au profit de micro-structures spécialisées est prometteur. Le récent dépôt de brevet par Intel souligne cette tendance, rendant envisageable le passage à des architectures de GPU désagrégées, même si la mise en œuvre effective reste à déterminer dans le temps.
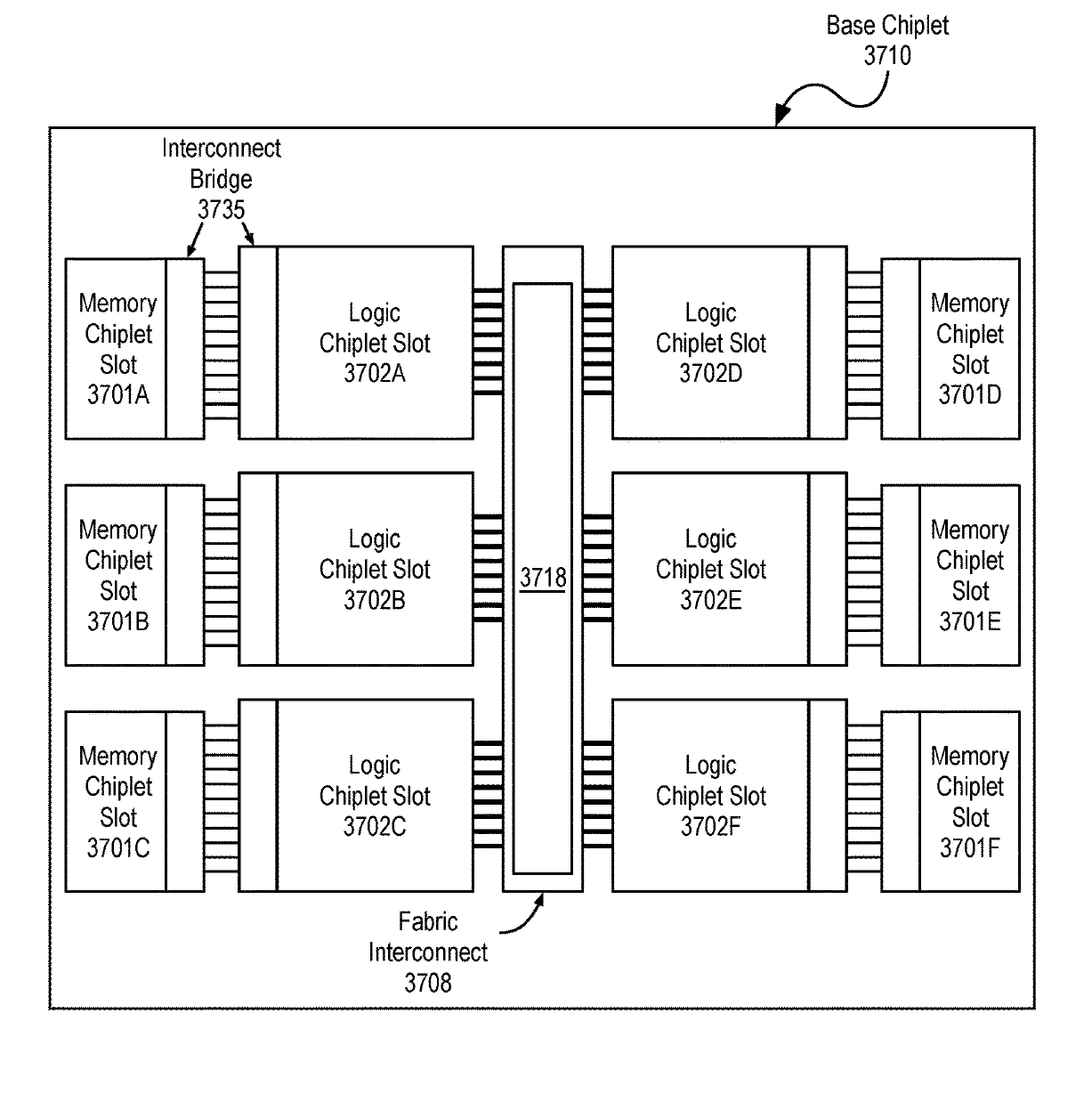
In Octobre, Intel received a patent for its disaggregated GPU architecture, potentially the first commercial design to feature logic chiplets that can power-gate unused units. pic.twitter.com/XsNjjdVIOu
— Underfox (@Underfox3) Octobre 26, 2024
La conception d’architectures de GPU désagrégées représente un véritable progrès dans le domaine, permettant aux constructeurs de rechercher des solutions plus efficaces et adaptées à différents cas d’utilisation. Les concepteurs peuvent désormais affiner chaque chiplet pour des applications précises, telles que le calcul, les graphismes ou l’intelligence artificielle.

Un avantage majeur de cette architecture est l’efficacité énergétique. En permettant un contrôle individuel sur chaque chiplet, Intel peut intégrer un système de gestion de l’énergie qui éteint les unités non utilisées, réduisant ainsi la consommation globale d’énergie. Ce procédé génère une multitude de bénéfices tels que la personnalisation des charges de travail et la modularité.

Récemment, AMD a également déposé un brevet similaire, mettant l’accent sur l’utilisation de chiplets et la gestion de ces unités sous différentes configurations. La concurrence entre Intel et AMD dans ce domaine semble prometteuse, promettant d’ouvrir la voie à de nouvelles innovations dans les architectures de GPU.

Cependant, l’implémentation d’un GPU multi-chiplet n’est pas sans défis. Les complexités de fabrication et la nécessité de technologies d’interconnexion appropriées posent des questions cruciales. Bien que des projets similaires, comme ceux d’AMD avec ses processeurs EPYC, soient déjà sur le marché, une réelle application de ces designs n’est pas encore concrète.
Le dépôt de brevet d’Intel peut être un indicateur positif, laissant entrevoir un avenir où les architectures de GPU désagrégées deviendront la norme. À mesure que ces technologies continuent d’évoluer, l’adoption croissante des chiplets pourrait transformer le paysage des unités de traitement graphique que nous connaissons aujourd’hui.



